У истоков столь гуманного способа расправы с преступниками стоял простой стоматолог из Баффало. В те годы стоматология — без привычной анестезии — была сплошным мучением для пациентов. Возможно, этим и объясняется стремление доктора Альфреда Саутвика облегчить страдания приговоренных к смерти.
Использовать электрический ток для высшей меры наказания подсказал ему случай: работник, обслуживавший генератор, был сражен мощным зарядом электричества и скончался на месте. Заручившись поддержкой коллеги Джорджа Фелла, Саутвик начал продвигать полюбившуюся ему идею. Одновременно проводились эксперименты на животных, в ходе которых опытным путем подбиралась мощность электрического разряда, способного умертвить человека, а также разрабатывалась конструкция удобного стула для приговоренного. Напарники разделились: Саутворк занялся продвижением новинки через бюрократический аппарат, а Фелл разработал в общих чертах внешний вид нового предмета тюремной обстановки и даже выбрал подходящий материал для стула — дуб.

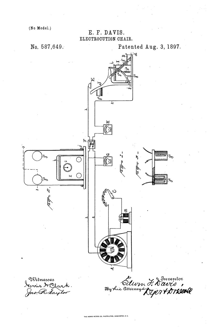
В этот момент на сцене появился Эдвин Дэвис, вошедший в историю как первый электропалач штата Нью-Йорк. Он серьезно воспринял поставленную перед ним задачу постройки первого электрического стула и с блеском выполнил поручение. В 1897 году он даже запатентовал свое детище, которое в последующие годы претерпело минимальные изменения. В 1923 году Дэвис мирно скончался и был удостоен крохотного некролога в газете New York Times, как человек отправивший на тот свет более 300 преступников.

Между тем законодатели наконец-то приняли необходимые правовые нормы для внедрения нового вида казни, пионером которой должен был стать Уильям Кеммлер, который жестоко расправился со своей женой. Он сам признался в содеянном и был приговорен к смерти.
Однако приговор никак не могли привести в исполнение из-за неожиданно возникшего судебного разбирательства, затеянного неким Кокрейном, который заявил, что казнь с помощью электричества нарушает восьмую поправку Конституции США. Эта поправка, входящая в Билль о правах, запрещает необычные и жестокие виды наказания.
В действительности, Кокрейн был нанят магнатом Джорджем Вестингаузом, который не хотел, чтобы выпущенные его фирмой генераторы использовались в новом устройстве — это могло негативно повлиять на репутацию компании. Юрист принялся затягивать процесс, обсуждая значения электрического сопротивления при прохождении разряда через человеческое тело, однако вызванный в качестве свидетеля знаменитый Томас Эдисон снял все возражения. В то время Эдисон и Вестингауз публично сцепились из-за растущих заказов на электрооборудование, при этом Эдисон предлагал использовать в сетях и приборах постоянный ток, а Вестингауз — переменный.
К 6 августу 1890 года все было готово для проведения первого показательного умерщвления преступника. Но все пошло наперекосяк. Во-первых, мощности генератора оказалось явно недостаточно, во-вторых, в ходе процедуры сломался вольтметр. Первая казнь на электрическом стуле из-за нескольких перерывов затянулась, а некоторые из собравшихся лишились чувств от резкого запаха поджаренной в местах прикрепления электродов человеческой плоти. Первый разряд, длившийся 17 секунд, не привел к смерти преступника. Через некоторое время он начал издавать стоны и прерывисто дышать, чем привел в ужас исполнителей приговора. Рубильник пришлось включать вторично.
Присутствовавший на казни репортер газеты New York Herald в деталях описал происходящее и добавил, что не сомневается в скором запрете столь страшного вида наказания. Однако технику отрегулировали и усовершенствовали, процедуру опытным путем подправили, и электрический стул по сей день время от времени используется для казни преступников в некоторых американских штатах.




